Descripción
CAMPO DE EMPLEO
Particularmente aptas para severas condiciones de trabajo son empleadas en el sellado de cilindros y pistones de sistemas hidráulicos, sometidos a movimiento rectilíneo alternativo.
Su diseño y moldeo de alta precisión garantizan un óptimo servicio en cualquier condición de trabajo. Los materiales utilizados en su fabricación les confieren propiedades anticorrosivas y un bajo coeficiente de fricción. Admiten altas presiones, son resistentes al desgarre y a la deformación permanente. Los diseños standard soportan temperatura de hasta 130º, aunque para aplicaciones especiales pueden elaborarse en materiales que toleran hasta 350º C.
Generalmente, se emplean juegos compuestos por tres (3) anillos en “V”, un (1) adaptador hembra (Base) y un (1) adaptador macho (Tapa). La base construido en materiales de alta propiedades mecánicas, soporta los requerimientos más exigentes y elimina el peligro de extrusión.

Tabla 1.1 – Número de anillos intermedios en “V” aconsejable, de acuerdo a las presiones del trabajo.

Tabla 1.2 – Sección “S” máxima aconsejable de cada guarnición, en función del diámetro del vástago o cilindro a sellar. Para presiones superiores a las indicadas en la tabla pertinente, se ruega consultar a nuestro Depto. Técnico.
NORMA DE MONTAJE
La exacta determinación de las dimensiones de los alojamientos, es fundamental para el perfecto funcionamiento de las empaquetaduras. Si se colocan excesivamente comprimidas, no sólo estarán expuestas a un desgaste prematuro, sino que se verán impedidas de responder sensiblemente a la presión.
Por el contrario, si quedaran flojas se deformarían. Por lo tanto, es necesario que los alojamientos correspondan exactamente a las medidas de las empaquetaduras.
MONTAJE SOBRE PISTONES
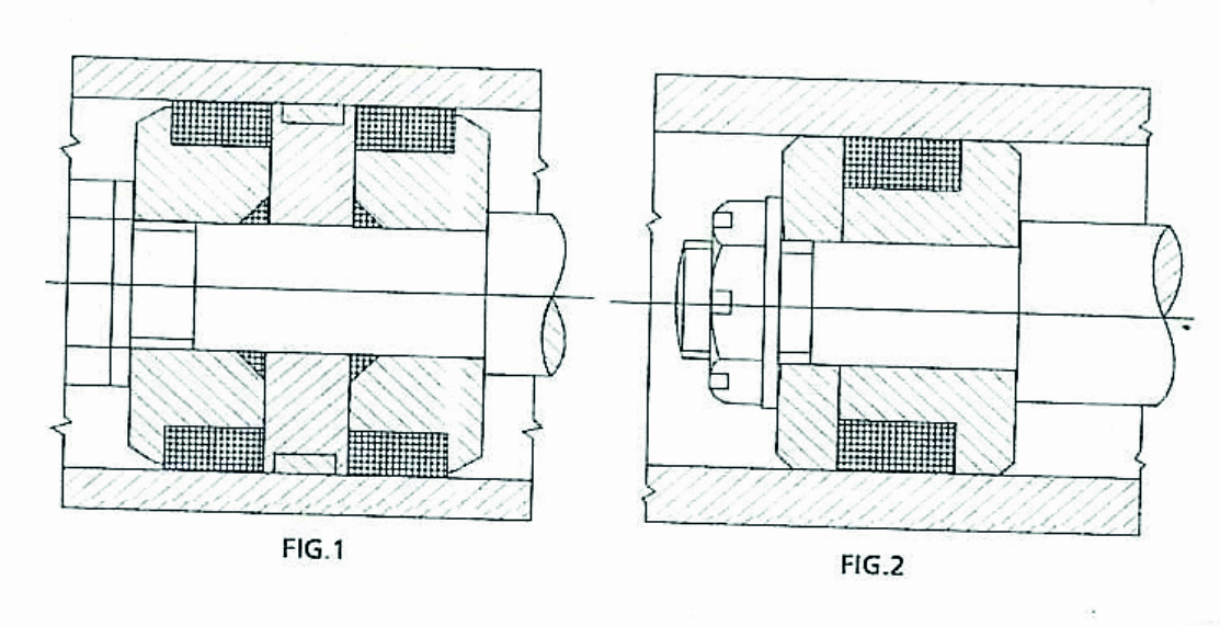
Debe cubrirse con aceite lubricante la empaquetadura como su alojamiento, previo al montaje sobre pistones de cilindros de doble efecto. Luego cada anillo será introducido uno a uno, cuidando que lo labios queden orientados hacia el lado que se ejerce la presión. Las empaquetaduras deben ir separadas por un anillo metálico suficientemente robusto y solidario con el pistón (Figura 1). Una vez alojado el conjunto de guarniciones que componen la empaquetadura, se colocará un brida de ajuste que ejerza sólo una ligera presión sobre la misma. Esto tiene por objeto evitar el movimiento axial de la empaquetadura, por el efecto de la presión del fluido. La Figura 2, muestra un ejemplo de aplicación de empaquetadura Serie EMV, montada sobre un pistón de cilindro de simple efecto.

MONTAJE SOBRE VÁSTAGO
Al igual que en el montaje sobre pistones, tanto el alojamiento como los anillos de la empaquetadura, deberán ser lubricados convenientemente, y luego introducidos uno por uno, con sus labios orientados hacia el lado donde se ejerce la presión. Después de introducir la empaquetadura se colocará una brida de ajuste que presione ligeramente sobre la misma, reduciendo en un 5% a 7% la altura “H” del conjunto. Debe tenerse en cuenta que una compresión excesiva, entorpecería el regular movimiento alternativo del pistón. Es necesario que la altura del alojamiento no supein el valor “H”, correspondiente a cada una de la serie, que se describe en la tabla 1.3
.
El vástago deberá estar bien centrado y guiado con un bujeguía suficientemente largo, a fin de evitar las vibraciones y flexiones del mismo (aproximadamente en 15% a 20% de la carrera total del pistón, o una vez el diámetro del vástago como mínimo), ejemplo en la Figura 3. La brida de ajuste (prensa-estopa), deberá estar de acuerdo con las exigencias del servicio y tipo de cilindro. Las de uso más generalizado son las de tipo roscado o abulonadas. Las primeras, más económicas, son aconsejables para cilindros de pequeñas dimensiones y presiones moderadas, mientras que las segundas, se recomiendan para cilindros grandes y presiones elevadas.
Cuando se emplean bridas con bulones, pueden registrarse el alojamiento mediante el agregado de arandelas metálicas de fino espesor colocadas entre el extremo del cilindro y la brida de ajuste. Mediante estas arandelas se pueden compensar pequeñas diferencias de altura entre el alojamiento y la empaquetadura, así como registrar la misma después de un cierto período de servicio.
EMPLEO DE GUARNICIONES CORTADAS
Es aconsejable únicamente, para el cierre de vástagos y requiere un número de anillos intermedios mayor que el normal (cuatro como mínimo). El corte debe ser efectuado en forma oblicua con una inclinación de 30º. En el montaje es necesario, que el corte de un anillo, esté desfasado 120º respecto del otro (Figura 4)
.
ACABADO SUPERFICIAL
En la construcción de cilindros hidráulicos y neumáticos, es de fundamental importancia la terminación de la superficie metálica con la que estarán en contacto las guarniciones. Cuanto mejor sea su terminación, mayor será la duración de las mismas, pues se reduce al mínimo el desgaste por fricción. Por lo tanto, se recomiendan superficies de perfecta terminación, y de ser posible cromadas, para evitar su oxidación durante el servicio.
En la Tabla 1.4, se indica el grado de rugosidad para las superficies en contacto con los diferentes tipos de guarniciones.

TOLERANCIAS
La tolerancia en el acoplamiento de los elementos móviles de un cilindro neumático o hidráulico, varía de acuerdo a sus características dimensionales y a su presión de trabajo.
La tolerancia adoptadas en la práctica, para la mayor parte de los casos, están para el sistema ISA, comprendidas en las posiciones H8/f7 y las posiciones H11/e7. Esta última, para el caso de cilindros de gran longitud y/o diámetro. La tabla 1.5 y fig. 5, resume a título informativo los huelgos diametrales máximos admisibles “G” en función de la presión y de las dimensiones del vástago y cilindro.





