Descripción
CAMPO DE EMPLEO
Tiene por función evitar o reducir al mínimo, el paso del aceite u otro elemento entre dos piezas de una máquina, que están en movimiento, una con respecto a la otra, tal como entre un eje rotatorio y su apoyo. Su campo de empleo se observa en maquinarias agrícolas, maquinarias industriales, motores eléctricos, cajas reductoras de velocidad, ruedas de vehículos, cadenas de distribución, etc.
Un retén radial tiene requisitos que varía dentro de límites muy amplios. No obstante, las exigencias comunes son, por lo general las siguientes:
- Confiable funcionamiento en el sellado y larga vida útil
- Alta resistencia al desgaste
- Buena resistencia a las temperaturas
- Compatibilidad con diferentes medios
- Facilidad de montaje
SELECCIÓN DEL MATERIAL Y COMPUESTOS
Considerando el diseño y su aplicación, son diversos los compuestos y sus derivaciones de las variadas formulaciones, resultando que cada material, tiene características específicas que lo hacen compatibles con los difeirentes funcionamientos a utilizarse.
Los materiales más utilizados, cuyos polímeros básicos son:
- Nitrilo: es excelente para la mayoría de los aceites minerales y grasas, existiendo formulaciones disponibles para fuel, fluidos industriales y lubricantes muy mezclados. Recomendado para operación continua de -54°C a 107°C, e intermitentemente hasta 121°C.
- Silicona: es compatible con aceites hidráulicos y minerales. En los retenes cubre una amplia gama de temperatura desde -73°a 163°C. Para aplicar en bajas fricciones. La elevada absorción de lubricantes de los retenes de silicona minimiza la fricción y el desgaste. Evidencia poca insistencia a los aceites oxidados, algunos aditivos de extrema presión y contaminantes abrasivos.
- Fluoroelastómeros: este material resiste la gama más extensa de temperaturas, desde -40°C hasta 204°C y la mayor resistencia química. Resisten los productos más especiales, lubricantes y químicos que pueden destruir al Nitrilo, los poliacrílicos y a la silicona. Es un material muy apreciado, que ha acreditado funcionamiento y vida útil excepcionales.
Para aplicaciones y servicios especiales existen otros materiales.
CONDICIONES, CARACTERÍSTICAS Y ESPECIFICACIONES GENERALES
El retén va montado dentro o junto a la parte inmóvil de la máquina y tiene labio flexible, generalmente cargado por el resorte, que hace de línea de contacto con respecto a la otra parte de la máquina, normalmente un eje rotatorio (Figura 1)
. “El sellado perfecto” no puede lograrse, entre otros efectos, debido a que el labio necesita recibir cierta lubricación para no ser destruido por el calor de la fricción. Un paso de aceite u otro medio (fugas) del orden de 1 cc. cada 24 horas, resulta un valor plenamente aceptable, e inmaterial, debido a que se evapora (Figura 2
). Con respecto a la duración en funcionamiento, como guía, se suelen citar 2000 horas de funcionamiento o 100.000 kilómetros en vehículos, resultados que dependen del correcto montaje, condiciones de funcionamientos y medio ambiente. La mayoría de los retenes están diseñados para alcanzar una máxima vida en servicio, cuando no soportan presión (0 psi). Por lo tanto, los retenes normalizados están adecuados para trabajar con presiones de hasta 15 psi. Los retenes en general están armados con acero laminado en frío, tanto las cajas interiores, como exteriores, se engrasan o tienen tratamiento para protegerlas contra la corrosión en el manejo y almacenaje ordinario. Se puede elaborar con acero inoxidable, material que posee alta resistencia a la corrosión y condiciones extremas. Con respecto a los materiales de resortes suministrados en los retenes, se emplean los de alambre estirado puro. Si es necesario se utilizan resortes de acero inoxidable.
REQUISITOS DEL ALOJAMIENTO
Ver Cuadro de tolerancias del alojamiento.
El alojamiento tiene requisitos que deben verificarse:
- Configuraciones del alojamiento: El borde de entrada del orificio interior debe estar biselado y libre de rebabas. La esquina interna del orificio interno debe tener un radio máximo de 1.19 mm. (Figura 3).
• Tolerancias del alojamiento: Los diámetros exteriores de los retenes son normalmente de 0.10 mm. a 0.25 mm. mayores que el alojamiento, para asegurar el encaje a presión necesaria. Esta tabla se aplica en materiales ferrosos, ya que el aluminio tiene generalmente una tasa de expansión térmica más alta que el acero. • Dureza del alojamiento: La dureza del orificio interno debe estar lo suficientemente elevado para mantener la interferencia con el diámetro exterior del retén. No se recomienda ninguna dureza Rockwell. • Material y acabado del alojamiento: Los materiales ferrosos y otros materiales metálicos, son aceptables, incluyendo aluminio. El acabado de la superficie del alojamiento debe mantener 125 micropulgada de alisamiento, o más liso para asegurar un sellado correcto.
-
REQUISITOS DEL EJE
El eje debe cumplir con ciertos requisitos, que se enuncian más abajo, para que el labio de retención funcione correctamente y arroje una larga vida útil.
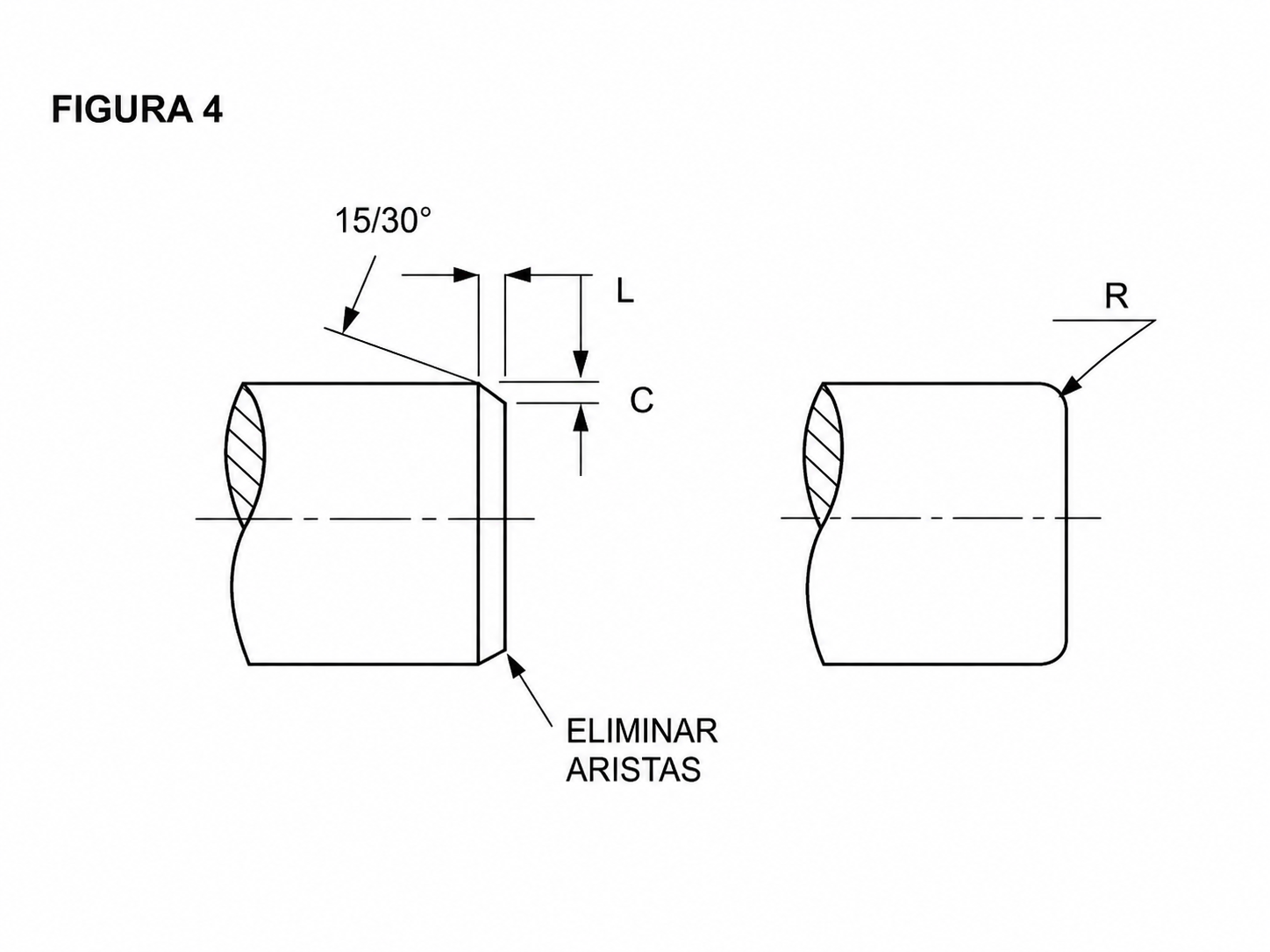
• Configuración del eje: Libre de rebabas es necesario en el radio o bisel, según se ilustra debajo (Figura 4).
• Diámetros del eje: Ver cuadro de diámetros.
• Material del eje: Sobre ejes de acero al carbón medio (SAE 1035/1045) o acero inoxidable, los retenes funcionan mejor.
Son aceptables las superficies de buena calidad cromadas o niqueladas, El latón, bronce y las aleaciones de aluminio, zinc o magnesio no son recomendadas.
• Rugosidad: La rugosidad del eje debe encontrarse entre ciertos límites. Si se sobrepasan los valores máximos, se producirá un desgaste rápido del labio de retención y si la rugosidad se encuentra debajo del mínimo, la película de lubricación que se forma desaparece o se rompe, acción que acarrea mayor fricción, aumenta la temperatura y deteriora el labio. De acuerdo a la lSO 4288, los valores de rugosidad deben cumplir: Ra 0.2 a o.8 um / Rz I a 4 um/Rmax 6.3 um En el mecanizado no deben quedar huellas con direccionalidad, de modo de evitar pérdidas por bombeo dependiendo del sentido de giro.
• Dureza: En la mayoría de las aplicaciones, la dureza no deberá ser menor de 55 HRC, con una profundidad al menos de 0.3 mm. Para casos de velocidades periféricas bajas (menores a 8 m/s), buena lubricación y ausencias de contaminación pueden ser aceptables valores de dureza inferiores a 55 HRC.
• Tolerancia del eje: Para una función satisfactoria en la retención, asegúrese de que el diámetro del eje esté dentro de las siguientes tolerancias recomendadas por RMA e ISO. Ver cuadro de Tolerancias.
• Excentricidad del eje: La excentricidad del eje afecta la actuación del retén. Hay dos tipos: > Desalineación, eje a diámetro interno: el eje está descentrado, con respecto al centro del orificio interior, > Desplazamiento dinámico: el eje no gira alrededor del verdadero centro. En ambos casos hay que realizar mediciones, las causas pueden resultar de la falta de precisión en el trabajo a máquina y montaje, curvatura del eje, falta de equilibrio del eje, etc.
• Velocidad del eje: Para una correcta actuación del retén, las velocidades máximas del eje dependen del acabado de la superficie del eje, presión, temperatura, excentricidad, lubricante o fluido que se retiene, tipo de retén y otras condiciones. Se define que las velocidades del eje pueden aumentarse cuando el acabado de la superficie del eje mejora o la excentricidad (desplazamiento) se reduce.
VELOCIDAD PERIFERICA MÁXIMA Y ADMISIBLE
Al girar el eje se produce la fricción entre éste y el retén, se incrementa el calor. Cuando más rápido gira el eje, mayor será el calor alcanzado por la fricción, cuando se alcanza la temperatura máxima admisible por el material del labio se ha llegado a la velocidad periférica máxima permitida para el eje. Por lo tanto se define que cuando mayor sea la resistencia del material del labio del retén, mayor será la velocidad periférica admisible. Sin embargo, juegan otros factores que inciden en la temperatura, tales como:
- Temperatura ambiente.
- Acabado de la superficies, excentricidades y desplazamiento del eje.
- Lubricación y condiciones de presión y disipación del calor.
- Diseño del labio. Este último factor influye sobre la magnitud de la fricción, arrojando por lo tanto, un incremento variado de temperatura originado por los diferentes diseños.
De esto resulta que los diversos diseños de labios permitan distintas velocidades periféricas.
PRESIÓN DEL O’RING EN SISTEMA HIDRÁULICO
Cuando los labios están expuestos a presión, forzados contra el eje aumenta la superficie de contacto, por tal situación, aumenta la fricción y se genera calor. Por lo, tanto, cuando el retén está sometido a presión, los valores de velocidad periférica admisible no pueden ser mantenidos y deberán ser inducidos en relación con la magnitud de la presión. Los tipos de labios Mz y Lz pueden ser empleados en medios con presiones hasta 0.5 bar. Altas velocidades periféricas, presiones tan bajas como 0.1 — 0.2 bar puede causar dificultades. Mediante el empleo de un anillo de apoyo separado, los tipos mZ y Lz pueden emplearse en medios con presiones superiores a 0.5 bar. El anillo de apoyo debe colocarse en la parte posterior del retén, pero los dos necesitan estar en contacto cuando el retén no está sometido a presión. (Figura5).
El anillo de apoyo requiere una adaptación exacta. A presiones muy altas deberán elegirse retenes con cubiertas revestidas en goma, con el fin de impedir fugas entre el retén y el alojamiento. Cuando el retén está sometido a presión se corre el riesgo de que se desplace axialmente dentro del alojamiento. Esto se evita colocando el retén contra un tope, anillo o anillo ranura.





